5V1A充電器方案
字號:T|T
深圳驪微電子近期推出了低成本,小體積的5V1A充電器方案-SF6022,此款芯片是賽威科技提供的。
該方案在滿足了平均效率達到能效6級,可過EMI,原邊反饋,省去了431和光耦,節省成本,無需外部補償電容,同時還具備了短路保護、過壓保護和開環保護等保護功能,是一款綜合性能指標優異性價比高的5V 1A充電器方案。
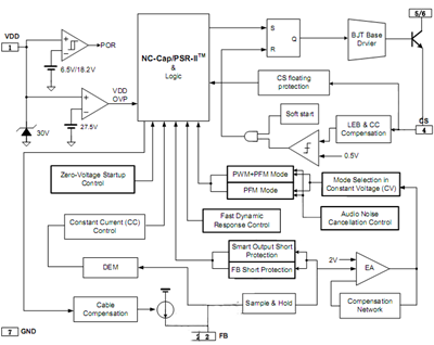
框架圖
框架圖

上一篇: 能提供三種不同電流的車充IC方案 下一篇:5V1A旅充芯片-SD6953
同類文章排行
- 一款適配器的AC-DC轉換芯片介紹-SD4873
- 士蘭微推出AC/DC 5V/1A充電器解決方案SD69
- SF6773 650V功率電源手機充電器芯片
- 芯龍12V/5A DC/DC低成本電源芯片方案-XL150
- NCE現貨n溝道mos管NCE6003Y磁場應管SOT23-3
- PN8368電源管理芯片手機充電器IC方案
- 4842mos管sop-8場效應管30V / 7.7A雙N溝道
- 優勢供應PNP型LMBT3946DW1T1三極管雙通用SO
- 士蘭微推出AC-DC轉換芯片-SD6830
- 驪微電子5V轉12V升壓芯片-XL6019
阿里巴巴店鋪
關注驪微
收藏驪微

